
Вы нашли документ, содержащийся в электронной базе документов - "ТЕХЭКСПЕРТ"!
ГОСТ 16855-91 Кресла для зрительных залов. Типы и основные размеры (с Поправкой)
Список продуктов
Данный раздел/документ содержится в продуктах:
Данный раздел/документ содержится в продуктах:
- Техэксперт: Нормы, правила, стандарты и законодательство России
- Нормы, правила, стандарты и законодательство по техническому регулированию
- ГОСТ 16855-81 Кресла для зрительных залов. Типы и основные размеры
- ГОСТ 12.1.040-83 Система стандартов безопасности труда (ССБТ). Лазерная безопасность. Общие положения (с Изменением N 1)
- ГОСТ 12.2.049-80 Система стандартов безопасности труда (ССБТ). Оборудование производственное. Общие эргономические требования
- ГОСТ 21889-76 Система "Человек-машина". Кресло человека-оператора. Общие эргономические требования (с Изменением N 1)
- Архив
- ГОСТ 16855-81 Кресла для зрительных залов. Типы и основные размеры
- Об утверждении Рекомендаций по планированию мероприятий по охране труда (утратил силу на основании приказа Министерства труда и социальной защиты Российской Федерации от 25.03.2013 N 115)
- Все нормы, правила, стандарты
- ГОСТ 12.1.040-83 Система стандартов безопасности труда (ССБТ). Лазерная безопасность. Общие положения (с Изменением N 1)
- ГОСТ 12.2.049-80 Система стандартов безопасности труда (ССБТ). Оборудование производственное. Общие эргономические требования
- ГОСТ 21889-76 Система "Человек-машина". Кресло человека-оператора. Общие эргономические требования (с Изменением N 1)
- Нормы, правила, стандарты и законодательство по техническому регулированию
- Техэксперт: Машиностроительный комплекс
- Нормы, правила, стандарты и законодательство по техническому регулированию
- ГОСТ 16855-81 Кресла для зрительных залов. Типы и основные размеры
- ГОСТ 12.1.040-83 Система стандартов безопасности труда (ССБТ). Лазерная безопасность. Общие положения (с Изменением N 1)
- ГОСТ 12.2.049-80 Система стандартов безопасности труда (ССБТ). Оборудование производственное. Общие эргономические требования
- ГОСТ 21889-76 Система "Человек-машина". Кресло человека-оператора. Общие эргономические требования (с Изменением N 1)
- Нормы, правила, стандарты и законодательство по техническому регулированию
- Техэксперт: Охрана труда
- Нормативные документы по охране труда
- ГОСТ 12.1.040-83 Система стандартов безопасности труда (ССБТ). Лазерная безопасность. Общие положения (с Изменением N 1)
- Об утверждении Рекомендаций по планированию мероприятий по охране труда (утратил силу на основании приказа Министерства труда и социальной защиты Российской Федерации от 25.03.2013 N 115)
- ГОСТ 12.2.049-80 Система стандартов безопасности труда (ССБТ). Оборудование производственное. Общие эргономические требования
- ГОСТ 21889-76 Система "Человек-машина". Кресло человека-оператора. Общие эргономические требования (с Изменением N 1)
- Нормативные документы по охране труда
- Авиатор
- Законодательство России
- Об утверждении Рекомендаций по планированию мероприятий по охране труда (утратил силу на основании приказа Министерства труда и социальной защиты Российской Федерации от 25.03.2013 N 115)
- Законодательство России
- Техэксперт: Эксплуатация зданий
- Законодательство России
- Об утверждении Рекомендаций по планированию мероприятий по охране труда (утратил силу на основании приказа Министерства труда и социальной защиты Российской Федерации от 25.03.2013 N 115)
- Законодательство России
- Техэксперт: Экология. Проф
- Законодательство России
- Об утверждении Рекомендаций по планированию мероприятий по охране труда (утратил силу на основании приказа Министерства труда и социальной защиты Российской Федерации от 25.03.2013 N 115)
- Система нормативов охраны и рационального использования природных ресурсов
- Законодательство России
- Техэксперт: Нефтегазовый комплекс
- Основы правового регулирования нефтегазового комплекса
- Об утверждении Рекомендаций по планированию мероприятий по охране труда (утратил силу на основании приказа Министерства труда и социальной защиты Российской Федерации от 25.03.2013 N 115)
- Нормы, правила, стандарты по нефтегазовому комплексу
- ГОСТ 12.1.040-83 Система стандартов безопасности труда (ССБТ). Лазерная безопасность. Общие положения (с Изменением N 1)
- ГОСТ 12.2.049-80 Система стандартов безопасности труда (ССБТ). Оборудование производственное. Общие эргономические требования
- ГОСТ 21889-76 Система "Человек-машина". Кресло человека-оператора. Общие эргономические требования (с Изменением N 1)
- Все нормы, правила, стандарты
- ГОСТ 12.1.040-83 Система стандартов безопасности труда (ССБТ). Лазерная безопасность. Общие положения (с Изменением N 1)
- ГОСТ 12.2.049-80 Система стандартов безопасности труда (ССБТ). Оборудование производственное. Общие эргономические требования
- ГОСТ 21889-76 Система "Человек-машина". Кресло человека-оператора. Общие эргономические требования (с Изменением N 1)
- Основы правового регулирования нефтегазового комплекса
- Техэксперт: Электроэнергетика
- Основы правового регулирования топливно-энергетического комплекса
- Об утверждении Рекомендаций по планированию мероприятий по охране труда (утратил силу на основании приказа Министерства труда и социальной защиты Российской Федерации от 25.03.2013 N 115)
- Нормы, правила, стандарты в электроэнергетике
- ГОСТ 12.1.040-83 Система стандартов безопасности труда (ССБТ). Лазерная безопасность. Общие положения (с Изменением N 1)
- ГОСТ 12.2.049-80 Система стандартов безопасности труда (ССБТ). Оборудование производственное. Общие эргономические требования
- ГОСТ 21889-76 Система "Человек-машина". Кресло человека-оператора. Общие эргономические требования (с Изменением N 1)
- Основы правового регулирования топливно-энергетического комплекса
- Техэксперт: Теплоэнергетика
- Основы правового регулирования топливно-энергетического комплекса
- Об утверждении Рекомендаций по планированию мероприятий по охране труда (утратил силу на основании приказа Министерства труда и социальной защиты Российской Федерации от 25.03.2013 N 115)
- Основы правового регулирования топливно-энергетического комплекса
- Стройэксперт. "Вариант Лидер"
- Основы правового регулирования в строительстве
- Об утверждении Рекомендаций по планированию мероприятий по охране труда (утратил силу на основании приказа Министерства труда и социальной защиты Российской Федерации от 25.03.2013 N 115)
- Строительное производство и проектирование (технические нормы, правила, стандарты)
- ГОСТ 12.1.040-83 Система стандартов безопасности труда (ССБТ). Лазерная безопасность. Общие положения (с Изменением N 1)
- ГОСТ 12.2.049-80 Система стандартов безопасности труда (ССБТ). Оборудование производственное. Общие эргономические требования
- ГОСТ 21889-76 Система "Человек-машина". Кресло человека-оператора. Общие эргономические требования (с Изменением N 1)
- Основы правового регулирования в строительстве
- Техэксперт: Ценообразование и сметное дело в строительстве
- Основы правового регулирования в строительстве
- Об утверждении Рекомендаций по планированию мероприятий по охране труда (утратил силу на основании приказа Министерства труда и социальной защиты Российской Федерации от 25.03.2013 N 115)
- Основы правового регулирования в строительстве
- Техэксперт: Помощник Проектировщика
- Основы правового регулирования в строительстве
- Об утверждении Рекомендаций по планированию мероприятий по охране труда (утратил силу на основании приказа Министерства труда и социальной защиты Российской Федерации от 25.03.2013 N 115)
- Строительное производство и проектирование (технические нормы, правила, стандарты)
- ГОСТ 12.1.040-83 Система стандартов безопасности труда (ССБТ). Лазерная безопасность. Общие положения (с Изменением N 1)
- ГОСТ 12.2.049-80 Система стандартов безопасности труда (ССБТ). Оборудование производственное. Общие эргономические требования
- ГОСТ 21889-76 Система "Человек-машина". Кресло человека-оператора. Общие эргономические требования (с Изменением N 1)
- Основы правового регулирования в строительстве
- Техэксперт: Дорожное строительство
- Основы правового регулирования в строительстве
- Об утверждении Рекомендаций по планированию мероприятий по охране труда (утратил силу на основании приказа Министерства труда и социальной защиты Российской Федерации от 25.03.2013 N 115)
- Основы правового регулирования в строительстве
- Техэксперт: Промышленная безопасность
- Нормативные документы по промышленной безопасности
- ГОСТ 12.1.040-83 Система стандартов безопасности труда (ССБТ). Лазерная безопасность. Общие положения (с Изменением N 1)
- ГОСТ 12.2.049-80 Система стандартов безопасности труда (ССБТ). Оборудование производственное. Общие эргономические требования
- ГОСТ 21889-76 Система "Человек-машина". Кресло человека-оператора. Общие эргономические требования (с Изменением N 1)
- Нормативные документы по промышленной безопасности
- Техэксперт: Пожарная безопасность
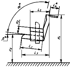
Поправка к ГОСТ 16855-91, опубликованная в ИУС N 11, 1992 год:
В каком месте |
Напечатано |
Должно быть |
Пункт 2.1. Чертеж |
|
|
Скачать документ нельзя - можно заказать Бесплатно! 1 документ
Документ будет отправлен на указанный Вами e-mail в течение 3 рабочих дней*
Часы работы: с Пн по Пт с 8:30 до 17:30 по московскому времени.
или
Посмотреть возможности крупнейшей электронной библиотеки "Техэксперт" - более 8 000 000 документов!
Подписка на полную версию «Указателя стандартов» через ФГУП «Стандартинформ» стоит 20 000 рублей.
При заказе демонстрации Вы получите доступ к его электронной версии совершенно бесплатно!



