
Вы нашли документ, содержащийся в электронной базе документов - "ТЕХЭКСПЕРТ"!
ГОСТ 1203-75 Чека тормозной колодки для вагонов железных дорог колеи 1520 мм. Технические условия (с Изменениями N 1, 2, 3)
Данный раздел/документ содержится в продуктах:
- Авиатор
- Техэксперт: Эксплуатация зданий
- Техэксперт: Экология. Проф
- Техэксперт: Нормы, правила, стандарты и законодательство России
- Техэксперт: Нефтегазовый комплекс
- Техэксперт: Охрана труда
- Техэксперт: Машиностроительный комплекс
- Техэксперт: Пожарная безопасность
- Техэксперт: Промышленная безопасность
1. Применение ГОСТ 1203-75 на территории Российской Федерации прекращено с 01.09.2014 в связи с утверждением и введением в действие ГОСТ Р 55819-2013 (Приказ Росстандарта от 22.11.2013 N 1753-ст).
2. Поправка к ГОСТ 1203-75, опубликованная в ИУС N 8, 2010 год:
В каком месте |
Должно быть |
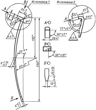
Пункт 1.1. Чертеж |
|
3. Правила применения межгосударственных стандартов установлены п.8 ГОСТ 1.0-2015 "Межгосударственная система стандартизации. Основные положения".
Скачать документ нельзя - можно заказать Бесплатно! 1 документ
Документ будет отправлен на указанный Вами e-mail в течение 3 рабочих дней*
Часы работы: с Пн по Пт с 8:30 до 17:30 по московскому времени.
или
Посмотреть возможности крупнейшей электронной библиотеки "Техэксперт" - более 8 000 000 документов!



