
Вы нашли документ, содержащийся в электронной базе документов - "ТЕХЭКСПЕРТ"!
Трубчатый дренаж. Патент N 241230
Данный раздел/документ содержится в продуктах:
Строительная газета N 15, 15 апреля 2011года
Рубрика: Научно-техническое творчество
Подготовила Светлана Казачкова
Трубчатый дренаж
Патент N 241230
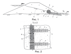
Кабардино-Балкарская государственная сельскохозяйственная академия (г.Нальчик) запатентовала (N 241230) изобретение, относящееся к гидротехническому строительству дренажных устройств земляных плотин и дамб обвалования. Трубчатый дренаж состоит из водосборных перфорированных труб 1 с кольцами жесткости 2, водоприемной части 3, представляющей собой гибкие тюфяки 4 из легких фашин, завернутые в геосетку и уложенные вокруг труб 1 к направлению фильтрационного потока 5, сетчатой оболочки 6, устраиваемой (с натяжением) по окружности вокруг водоприемной части и прикрепляемой к кольцам жесткости, и водоотводящей части 7, состоящей из аналогичных тюфяков 4, но уложенных по направлению фильтрационного потока 5 и расположенных на расстоянии друг от друга с уклоном от водосборных труб до подошвы низового откоса.
Скачать документ нельзя - можно заказать Бесплатно! 1 документ
Документ будет отправлен на указанный Вами e-mail в течение 3 рабочих дней*
Часы работы: с Пн по Пт с 8:30 до 17:30 по московскому времени.
или
Посмотреть возможности крупнейшей электронной библиотеки "Техэксперт" - более 8 000 000 документов!



