
Вы нашли документ, содержащийся в электронной базе документов - "ТЕХЭКСПЕРТ"!
КТП. Инструкция на клеевую окраску потолков механизированным способом
КАРТА ТРУДОВОГО ПРОЦЕССА (КТП)
ИНСТРУКЦИЯ НА КЛЕЕВУЮ ОКРАСКУ ПОТОЛКОВ МЕХАНИЗИРОВАННЫМ СПОСОБОМ
1. Очистка и сглаживание поверхности потолков
Исполнитель
Маляр II разряда.
Инструмент, приспособления, инвентарь
Скребок стальной на удлиненной ручке для удаления с поверхности отвердевших частиц раствора и шпаклевки - 1;
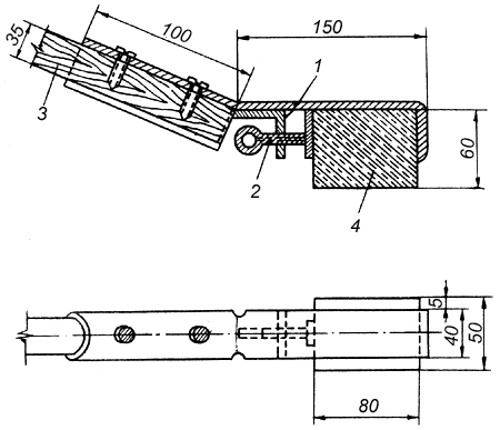
Обойма для крепления лещади или пемзы (рис.1) - 1;
Рис.1. Обойма для крепления лещади или пемзы
1 - корпус;
Скачать документ нельзя - можно заказать Бесплатно! 1 документ
Документ будет отправлен на указанный Вами e-mail в течение 3 рабочих дней*
Часы работы: с Пн по Пт с 8:30 до 17:30 по московскому времени.
или
Посмотреть возможности крупнейшей электронной библиотеки "Техэксперт" - более 8 000 000 документов!



