
Вы нашли документ, содержащийся в электронной базе документов - "ТЕХЭКСПЕРТ"!
ТТК. Монтаж стояков внутреннего водопровода и канализации с установкой сантехприборов при капитальном ремонте жилых домов
ТИПОВАЯ ТЕХНОЛОГИЧЕСКАЯ КАРТА (ТТК)
МОНТАЖ СТОЯКОВ ВНУТРЕННЕГО ВОДОПРОВОДА И КАНАЛИЗАЦИИ С УСТАНОВКОЙ САНТЕХПРИБОРОВ ПРИ КАПИТАЛЬНОМ РЕМОНТЕ ЖИЛЫХ ДОМОВ
I. Область применения карты
1. Технологическая карта разработана на монтаж стояков водопровода и канализации с установкой сантехприборов в жилом трехэтажном доме при капитальном комплексном ремонте его.
Рис. 1. План помещений санитарно-кухонного узла с указанием сети водопровода и канализации
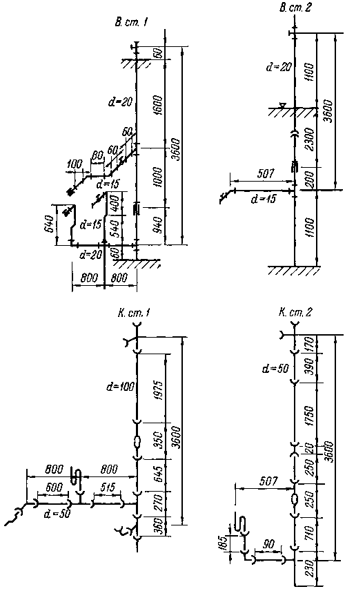
Рис.2. Стояки водопровода и канализации
Скачать документ нельзя - можно заказать Бесплатно! 1 документ
Документ будет отправлен на указанный Вами e-mail в течение 3 рабочих дней*
Часы работы: с Пн по Пт с 8:30 до 17:30 по московскому времени.
или
Посмотреть возможности крупнейшей электронной библиотеки "Техэксперт" - более 8 000 000 документов!



