Штифт цилиндрового механизма
Список продуктов
Данный раздел/документ содержится в продуктах:
Данный раздел/документ содержится в продуктах:
- Техэксперт: Нормы, правила, стандарты и законодательство России
- Техэксперт: Нефтегазовый комплекс
- Техэксперт: Машиностроительный комплекс
- Стройэксперт. "Вариант Лидер"
- Техэксперт: Эксплуатация зданий
- Стройтехнолог
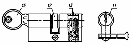
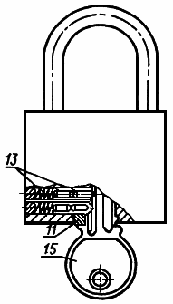
ШТИФТ ЦИЛИНДРОВОГО МЕХАНИЗМА
Деталь цилиндрового механизма, являющаяся рабочим или стопорным элементом в цилиндровом механизме (черт.8, 9, поз.13)

Черт.8

Черт.9
"ГОСТ 27346-87 (СТ СЭВ 5615-86) Изделия замочно-скобяные. Термины и определения" от 05.05.1987 г.



