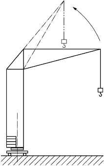
Подъем (опускание) стрелы грузоподъемного крана
Список продуктов
Данный раздел/документ содержится в продуктах:
Данный раздел/документ содержится в продуктах:
- Техэксперт: Охрана труда
- Техэксперт: Промышленная безопасность
- Техэксперт: Нормы, правила, стандарты и законодательство России
- Техэксперт: Нефтегазовый комплекс
- Техэксперт: Машиностроительный комплекс
- Техэксперт: Электроэнергетика
- Техэксперт: Теплоэнергетика
- Стройэксперт. "Вариант Лидер"
- Техэксперт: Эксплуатация зданий
- Стройтехнолог
ПОДЪЕМ (ОПУСКАНИЕ) СТРЕЛЫ ГРУЗОПОДЪЕМНОГО КРАНА
(Е) Derricking (luffing)
(F) Relevage (descente) de la
Угловое движение стрелы в вертикальной плоскости
"ГОСТ 27555-87 Краны грузоподъемные. Термины и определения" от 24.12.1987 г.
ПОДЪЕМ (ОПУСКАНИЕ) СТРЕЛЫ КРАНА
(Е) Derricking (luffing)
Угловое движение стрелы в вертикальной плоскости
"ГОСТ 33709.1-2015 Краны грузоподъемные. Словарь. Часть 1. Общие положения" от 08.06.2016 г.



