Комбинированный профиль
Список продуктов
Данный раздел/документ содержится в продуктах:
Данный раздел/документ содержится в продуктах:
- Техэксперт: Нормы, правила, стандарты и законодательство России
- Техэксперт: Нефтегазовый комплекс
- Техэксперт: Машиностроительный комплекс
- Стройэксперт. "Вариант Лидер"
- Техэксперт: Эксплуатация зданий
- Стройтехнолог
КОМБИНИРОВАННЫЙ ПРОФИЛЬ
Изделие, в котором внутренние и наружные элементы выполнены из алюминиевых профилей одной марки сплава, соединенных между собой термовставкой из материала с более низкой теплопроводностью и к которым наряду с другими предъявляются требования по сопротивлению теплопередаче.
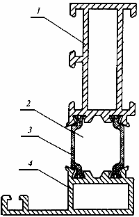
Комбинированные профили могут состоять из сплошных и полых профилей любой конфигурации, соединенных между собой термовставкой (рисунок 3).

1, 4 - полые профили; 2 - термоизолирующая камера, заполненная воздухом или вспененным
теплоизоляционным материалом; 3 - термовставка
Рисунок 3



