Завертка
Список продуктов
Данный раздел/документ содержится в продуктах:
Данный раздел/документ содержится в продуктах:
- Техэксперт: Нормы, правила, стандарты и законодательство России
- Техэксперт: Нефтегазовый комплекс
- Техэксперт: Машиностроительный комплекс
- Стройэксперт. "Вариант Лидер"
- Техэксперт: Эксплуатация зданий
- Стройтехнолог
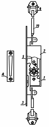
ЗАВЕРТКА
Изделие, служащее для запирания дверей и окон с одной стороны при помощи вращения ручки (черт.4)
Черт.4
"ГОСТ 27346-87 (СТ СЭВ 5615-86) Изделия замочно-скобяные. Термины и определения" от 05.05.1987 г.



