
Вы нашли документ, содержащийся в электронной базе документов - "ТЕХЭКСПЕРТ"!
Водонагреватели и водонагревательное оборудование
ВОДОНАГРЕВАТЕЛИ И ВОДОНАГРЕВАТЕЛЬНОЕ ОБОРУДОВАНИЕ
Водонагреватели. В зависимости от первичного (греющего) теплоносителя водонагреватели подразделяются на пароводяные, у которых греющей средой является пар, и водо-водяные, где греющей средой служит вода.
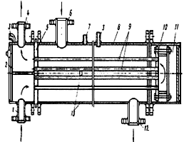
Пароводяные скоростные водонагреватели (рис.1) изготавливают в соответствии с требованиями ГОСТ 28679-90Е двух- или четырехходовыми по воде с плоскими или сферическими торцами. Трубная система подогревателей выполняется из латунных трубок диаметром 16 и 19 мм с толщиной стенки 1 мм, корпус оборудования стальной. При установке подогревателей необходимо предусматривать перед ними свободное место для извлечения трубной системы при проведении профилактических работ. Корпус водонагревателя испытывают после монтажа гидростатическим давлением равным 1,3 МПа, а водяные камеры и трубную систему на давление 1,9 МПа.
Рис.1. Пароводяной водоподогреватель:
1 - патрубок входа подогреваемой воды; 2, 11 - камеры; 3 - штуцер для присоединения манометра; 4 - патрубок выхода воды; 5, 10 - трубные решетки; 6 - патрубок входа пара; 8* - кожух; 9 - трубки латунные; 12 - патрубок удаления конденсата
Скачать документ нельзя - можно заказать Бесплатно! 1 документ
Документ будет отправлен на указанный Вами e-mail в течение 3 рабочих дней*
Часы работы: с Пн по Пт с 8:30 до 17:30 по московскому времени.
или
Посмотреть возможности крупнейшей электронной библиотеки "Техэксперт" - более 8 000 000 документов!



