
Вы нашли документ, содержащийся в электронной базе документов - "ТЕХЭКСПЕРТ"!
Кровельный крепеж РОКС (ФАСТЕН ГРУПП)
КРОВЕЛЬНЫЙ КРЕПЕЖ РОКС
ФАСТЕН ГРУПП
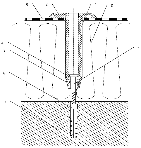
Универсальный крепежный узел
Фиг.1
Теплоизоляция строительных конструкций должна быть запроектирована так, чтобы выполнять возложенные на нее функции в течение всего жизненного цикла конструкции
Современный строительный рынок предлагает достаточный ассортимент импортных и отечественных вспомогательных и сопутствующих элементов, позволяющих комплексно решать различные задачи по качественному монтажу и эксплуатации различных типов кровли. В зависимости от выполняемых ими функций они подразделяются на элементы систем водоотвода, вентиляции кровли, проходные элементы, элементы обеспечения безопасности, борьбы со снегом, фасонные, а также элементы крепления.
При устройстве кровли из мягких материалов отдельные составляющие кровельного "пирога" должны надежно крепиться к основанию и друг другу. Остановимся на новых современных крепежных материалах для рулонных мягких кровель, с креплением которых возникает много проблем.
Скачать документ нельзя - можно заказать Бесплатно! 1 документ
Документ будет отправлен на указанный Вами e-mail в течение 3 рабочих дней*
Часы работы: с Пн по Пт с 8:30 до 17:30 по московскому времени.
или
Посмотреть возможности крупнейшей электронной библиотеки "Техэксперт" - более 8 000 000 документов!



