
Вы нашли документ, содержащийся в электронной базе документов - "ТЕХЭКСПЕРТ"!
Конструктивные и электрические характеристики кабелей связи
КОНСТРУКТИВНЫЕ И ЭЛЕКТРИЧЕСКИЕ ХАРАКТЕРИСТИКИ КАБЕЛЕЙ СВЯЗИ
1. Конструкция кабелей
Кабель состоит из скрученных вместе по определенной системе изолированных проводников (сердечник), заключенных в общую влагозащитную оболочку и броневые покровы, предохраняющие кабель от механических воздействий (рис.1).
Рис.1. Общий вид кабеля
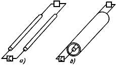
Различают кабели симметричной и коаксиальной конструкций (рис.2).
Рис.2. Кабельные цепи:
а - симметричная; б - коаксиальная
Скачать документ нельзя - можно заказать Бесплатно! 1 документ
Документ будет отправлен на указанный Вами e-mail в течение 3 рабочих дней*
Часы работы: с Пн по Пт с 8:30 до 17:30 по московскому времени.
или
Посмотреть возможности крупнейшей электронной библиотеки "Техэксперт" - более 8 000 000 документов!



