
Вы нашли документ, содержащийся в электронной базе документов - "ТЕХЭКСПЕРТ"!
Домкрат установочный с упругим элементом
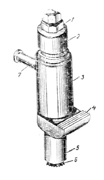
ДОМКРАТ УСТАНОВОЧНЫЙ С УПРУГИМ ЭЛЕМЕНТОМ
Предназначен для установки оборудования в проектное положение при монтаже санитарно-технических систем и используется в качестве опорного элемента (подкладок) между оборудованием и фундаментом до момента подливки и твердения бетонной смеси. Подъем и опускание груза, расположенного на лапе, производится вращением шестигранной гайки, находящейся в верхней части стакана.
Рис. 1.
1 - гайка шестигранная; 2 - стакан; 3 - корпус; 4 - лапа; 5 - стойка упорная; 6 - подпятник; 7 - рукоятка
Техническая характеристика
Габариты мм:
ширина (с рукояткой) 200
высота 500
Грузоподъемность, т 1,5
Диапазон перемещения на высоте, мм 30-200
Деформация упругого элемента, мм 40
Масса, кг 12
Скачать документ нельзя - можно заказать Бесплатно! 1 документ
Документ будет отправлен на указанный Вами e-mail в течение 3 рабочих дней*
Часы работы: с Пн по Пт с 8:30 до 17:30 по московскому времени.
или
Посмотреть возможности крупнейшей электронной библиотеки "Техэксперт" - более 8 000 000 документов!



