
Вы нашли документ, содержащийся в электронной базе документов - "ТЕХЭКСПЕРТ"!
Вспученный перлит
ВСПУЧЕННЫЙ ПЕРЛИТ
Вспученный перлит (ГОСТ 10832-91) получают путем измельчения и обжига перлита, обсидана и других вулканических горных пород стекловидного строения, содержащих небольшое количество гидратной воды (3-5%). При быстром нагреве до температуры 900-1200 °С вода переходит в пар и вспучивает размягченную породу. Она распадается на шарообразные зерна с увеличением в объеме в 5-10 раз и более (пористость зерен 80-90%). Насыпная плотность перлитового песка колеблется от 75 до 200 кг/м, щебня - 500 кг/м
. Теплопроводность при температуре 25 °С составляет 0,046-0,08 Вт/м·К.
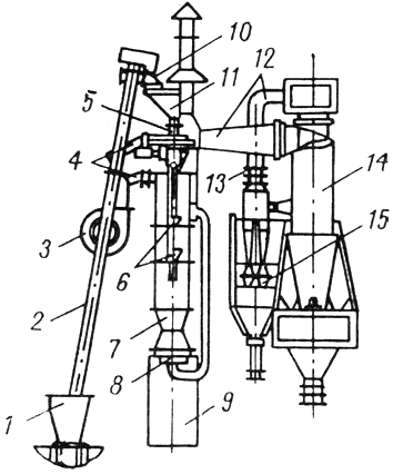
Схема шахтной печи конструкции НИИСМИ АС и А УССР:
1 - приемная воронка; 2 - вертикальный шнек для сырья; 3 - вентилятор; 4 - воздуховоды; 5 - тарельчатый питатель; 6 - загрузочные воронки; 7 - печь; 8 - горелка; 9 - зольник; 10 - течка; 11 - бункер питателя; 12 - газопроводы; 13 - задвижка; 14 - циклон-классификатор; 15 - батарейный циклон
Скачать документ нельзя - можно заказать Бесплатно! 1 документ
Документ будет отправлен на указанный Вами e-mail в течение 3 рабочих дней*
Часы работы: с Пн по Пт с 8:30 до 17:30 по московскому времени.
или
Посмотреть возможности крупнейшей электронной библиотеки "Техэксперт" - более 8 000 000 документов!



