0 продуктов

Авторизация

Нормальное сечение зуба (впадины) конического зубчатого колеса

Список продуктов
Данный раздел/документ содержится в продуктах:


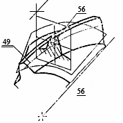
НОРМАЛЬНОЕ СЕЧЕНИЕ ЗУБА (ВПАДИНЫ) КОНИЧЕСКОГО ЗУБЧАТОГО КОЛЕСА

Нормальное сечение зуба (впадины)

Сечение зуба (впадины) конического зубчатого колеса плоскостью нормальной к средней линии зуба (впадины) в заданной точке.


     49. Средняя линия зуба


56. Нормальное сечение зубa (впадины) конического зубчатого колеса

Примечания:

1. Различают внешнее, среднее, внутреннее и др. нормальные сечения зуба (впадины) соответственно в точках, принадлежащих внешней, средней, внутренней делительной и др. концентрическим окружностям конического зубчатого колеса.

Категории продуктов

 

 

 

Знакомьтесь, "Техэксперт"

 Техэксперт для iPad

 Для Android

АКЦИЯ!

Бесплатный доступ