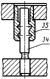
Направляющая колонка штампа
Список продуктов
Данный раздел/документ содержится в продуктах:
Данный раздел/документ содержится в продуктах:
- Техэксперт: Нормы, правила, стандарты и законодательство России
- Техэксперт: Нефтегазовый комплекс
- Техэксперт: Машиностроительный комплекс
НАПРАВЛЯЮЩАЯ КОЛОНКА ШТАМПА
Направляющая колонка
Деталь цилиндрического направляющего узла штампа, имеющая наружную направляющую поверхность.
34. Направляющая колонка штампа
35. Направляющая втулка штампа
"ГОСТ 15830-84 Обработка металлов давлением. Штампы. Термины и определения" от 12.04.1984 г.



