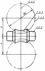
Образующая делительного глобоида
Список продуктов
Данный раздел/документ содержится в продуктах:
Данный раздел/документ содержится в продуктах:
- Техэксперт: Нормы, правила, стандарты и законодательство России
- Техэксперт: Нефтегазовый комплекс
- Техэксперт: Машиностроительный комплекс
ОБРАЗУЮЩАЯ ДЕЛИТЕЛЬНОГО ГЛОБОИДА
Диаметр образующей делительного глобоида обозначен как
Отрезок дуги окружности, образующей делительный глобоид
"ГОСТ 18498-89 Передачи червячные. Термины, определения и обозначения" от 26.07.1989 г.



