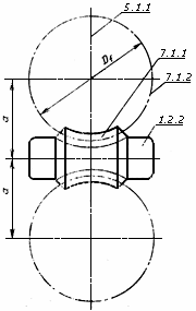
Делительный глобоид
Список продуктов
Данный раздел/документ содержится в продуктах:
Данный раздел/документ содержится в продуктах:
- Техэксперт: Нормы, правила, стандарты и законодательство России
- Техэксперт: Нефтегазовый комплекс
- Техэксперт: Машиностроительный комплекс
ДЕЛИТЕЛЬНЫЙ ГЛОБОИД
Поверхность, образованная вращением вокруг оси червяка дуги средней делительной окружности глобоидного колеса
"ГОСТ 18498-89 Передачи червячные. Термины, определения и обозначения" от 26.07.1989 г.



