0 продуктов

Авторизация

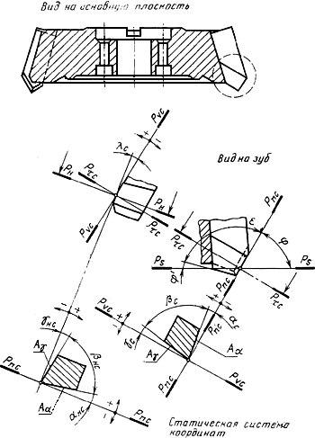
Статический угол в плане

Список продуктов
Данный раздел/документ содержится в продуктах:


     СТАТИЧЕСКИЙ УГОЛ В ПЛАНЕ

     
     
     
     Угол в статической основной плоскости между статической плоскостью резания и рабочей плоскостью (черт.18-20)
     
     

Направление скорости главного движения

Направление скорости резания
     


Черт.18



Углы торцовой фрезы со вставными зубьями

 

Категории продуктов

 

 

 

Знакомьтесь, "Техэксперт"

 Техэксперт для iPad

 Для Android

АКЦИЯ!

Бесплатный доступ