0 продуктов

Авторизация

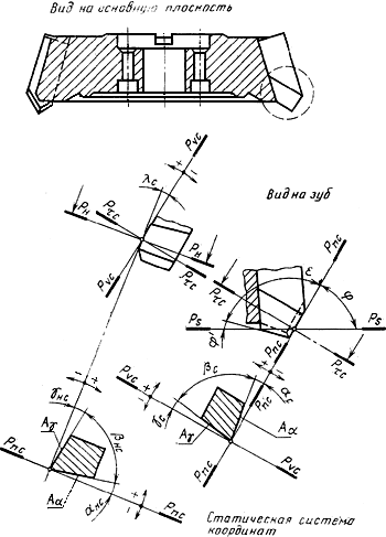
Угол наклона кромки

Список продуктов
Данный раздел/документ содержится в продуктах:


     УГОЛ НАКЛОНА КРОМКИ
     
     
     
     Угол в плоскости резания между режущей кромкой и основной плоскостью (черт.18-21)
     
     

Направление скорости главного движения

Направление скорости резания
     


Черт.18



Углы торцовой фрезы со вставными зубьями

 

Категории продуктов

 

 

 

Знакомьтесь, "Техэксперт"

 Техэксперт для iPad

 Для Android

АКЦИЯ!

Бесплатный доступ