0 продуктов

Авторизация

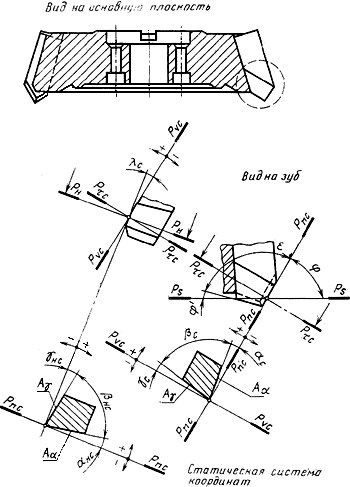
Статический главный угол заострения

Список продуктов
Данный раздел/документ содержится в продуктах:


     СТАТИЧЕСКИЙ ГЛАВНЫЙ УГОЛ ЗАОСТРЕНИЯ

     
     
     
     Угол в статической главной секущей плоскости между передней и задней поверхностями лезвия (черт.18-21)
     
     

Направление скорости главного движения

Направление скорости резания
     


Черт.18



Углы торцовой фрезы со вставными зубьями

 

Категории продуктов

 

 

 

Знакомьтесь, "Техэксперт"

 Техэксперт для iPad

 Для Android

АКЦИЯ!

Бесплатный доступ