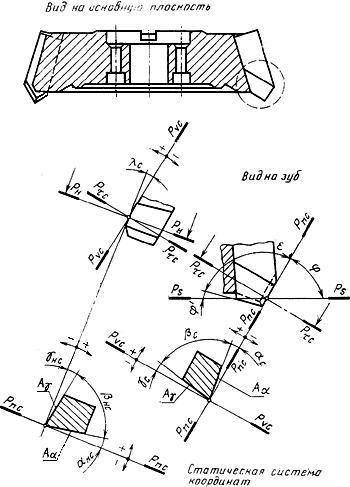
Главный задний угол
Список продуктов
Данный раздел/документ содержится в продуктах:
Данный раздел/документ содержится в продуктах:
- Техэксперт: Нормы, правила, стандарты и законодательство России
- Техэксперт: Нефтегазовый комплекс
- Техэксперт: Машиностроительный комплекс
- Техэксперт: Электроэнергетика
- Техэксперт: Теплоэнергетика
ГЛАВНЫЙ ЗАДНИЙ УГОЛ
Задний угол в главной секущей плоскости (черт.18-21)
Направление скорости главного движения |
Направление скорости резания |
| |
Черт.18
Углы торцовой фрезы со вставными зубьями
Черт.19
Углы сверла



