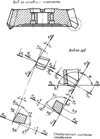
Статический главный передний угол
Список продуктов
Данный раздел/документ содержится в продуктах:
Данный раздел/документ содержится в продуктах:
- Техэксперт: Нормы, правила, стандарты и законодательство России
- Техэксперт: Нефтегазовый комплекс
- Техэксперт: Машиностроительный комплекс
- Техэксперт: Электроэнергетика
- Техэксперт: Теплоэнергетика
СТАТИЧЕСКИЙ ГЛАВНЫЙ ПЕРЕДНИЙ УГОЛ
Угол в статической главной секущей плоскости между передней поверхностью лезвия и статической основной плоскостью (черт.18-21)
Направление скорости главного движения |
Направление скорости резания |
| |
Черт.18
Углы торцовой фрезы со вставными зубьями
Черт.19



