0 продуктов

Авторизация

Слепая заклепка

Список продуктов
Данный раздел/документ содержится в продуктах:


СЛЕПАЯ ЗАКЛЕПКА

(blind rivet):

Крепежное изделие для механического соединения двух или более деталей даже в том случае, когда доступ к месту соединения возможен только с одной стороны.

Примечания

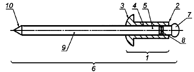
1 "Слепая" заклепка состоит из корпуса, внутри которого находится сердечник, который во время установки заклепки деформирует конец заклепки в "слепую" головку и также может расширять тело заклепки.

2 Элементы "слепой" заклепки показаны на рисунке 1.





Категории продуктов

 

 

 

Знакомьтесь, "Техэксперт"

 Техэксперт для iPad

 Для Android

АКЦИЯ!

Бесплатный доступ