Тело бурильной трубы
Список продуктов
Данный раздел/документ содержится в продуктах:
Данный раздел/документ содержится в продуктах:
- Техэксперт: Промышленная безопасность
- Техэксперт: Нормы, правила, стандарты и законодательство России
- Техэксперт: Нефтегазовый комплекс
- Техэксперт: Машиностроительный комплекс
- Техэксперт: Электроэнергетика
- Техэксперт: Теплоэнергетика
- Стройэксперт. "Вариант Лидер"
- Техэксперт: Эксплуатация зданий
- Стройтехнолог
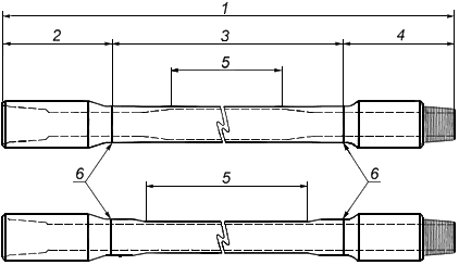
ТЕЛО БУРИЛЬНОЙ ТРУБЫ
(drill-pipe body)
Бесшовная стальная труба с высаженными концами (рисунок 1).
1 - бурильная труба; 2 - корпус бурильного замка; 3, 5 - тело бурильной трубы; 4 - ниппель замка; 6 - сварной шов
Рисунок 1 - Система обозначений бурильной трубы
ТЕЛО БУРИЛЬНОЙ ТРУБЫ



