Число полюсов
Список продуктов
Данный раздел/документ содержится в продуктах:
Данный раздел/документ содержится в продуктах:
- Техэксперт: Нормы, правила, стандарты и законодательство России
- Техэксперт: Нефтегазовый комплекс
- Техэксперт: Машиностроительный комплекс
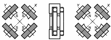
ЧИСЛО ПОЛЮСОВ
En. number of poles
Fr. nombre de
Сумма южных (S) и северных (N) полюсов электромагнитов радиального АМП (см. рисунок)

а) Гетерополярный тип (8 полюсов)




