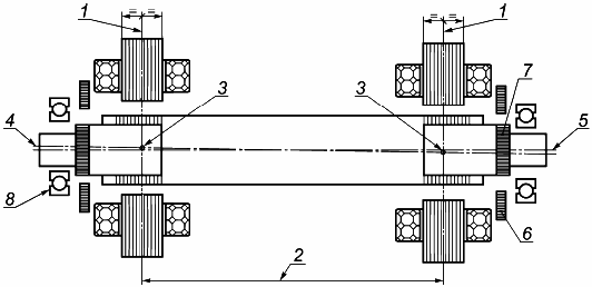
Пролет между радиальными АМП
Список продуктов
Данный раздел/документ содержится в продуктах:
Данный раздел/документ содержится в продуктах:
- Техэксперт: Нормы, правила, стандарты и законодательство России
- Техэксперт: Нефтегазовый комплекс
- Техэксперт: Машиностроительный комплекс
ПРОЛЕТ МЕЖДУ РАДИАЛЬНЫМИ АМП
En. bearing span between radial AMBs
Fr. de paliers entre PMA radiaux
Расстояние между осями полюсов статоров двух радиальных АМП (см. рисунок)

а) Гетерополярный тип

b) Гомополярный тип



