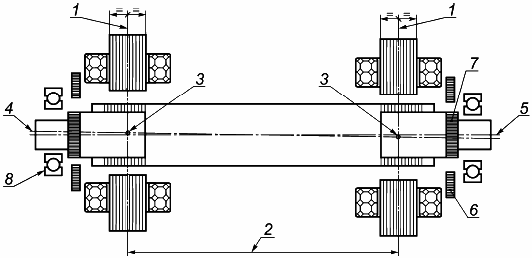
Ось полюса статора радиального АМП
Список продуктов
Данный раздел/документ содержится в продуктах:
Данный раздел/документ содержится в продуктах:
- Техэксперт: Нормы, правила, стандарты и законодательство России
- Техэксперт: Нефтегазовый комплекс
- Техэксперт: Машиностроительный комплекс
ОСЬ ПОЛЮСА СТАТОРА РАДИАЛЬНОГО АМП
En. axial centre of a radial AMB
Fr. centre axial d'un PMA radial
Ось симметрии полюса статора радиального АМП (см. рисунок)

а) Гетерополярный тип

b) Гомополярный тип
1 - ось полюса статора; 2 - пролет между радиальными АМП; 3 - центр радиального АМП; 4 - центральная ось радиального АМП; 5 - ось цапфы; 6 - датчик перемещений в радиальном направлении; 7 - измерительная поверхность для датчика; 8 - страховочный подшипник



