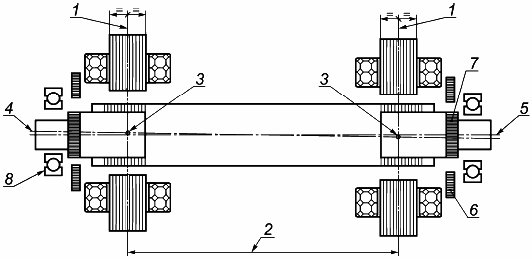
Центр радиального АМП
Список продуктов
Данный раздел/документ содержится в продуктах:
Данный раздел/документ содержится в продуктах:
- Техэксперт: Нормы, правила, стандарты и законодательство России
- Техэксперт: Нефтегазовый комплекс
- Техэксперт: Машиностроительный комплекс
ЦЕНТР РАДИАЛЬНОГО АМП
En. clearance centre of a radial AMB
Fr. centre du jeu d'un PMA radial
Геометрический центр статора радиального подшипника (см. рисунок)

а) Гетерополярный тип

b) Гомополярный тип



