Сварка с поперечным колебанием горелки
Список продуктов
Данный раздел/документ содержится в продуктах:
Данный раздел/документ содержится в продуктах:
- Техэксперт: Промышленная безопасность
- Техэксперт: Нормы, правила, стандарты и законодательство России
- Техэксперт: Нефтегазовый комплекс
- Техэксперт: Машиностроительный комплекс
- Техэксперт: Электроэнергетика
- Техэксперт: Теплоэнергетика
- Стройэксперт. "Вариант Лидер"
- Техэксперт: Эксплуатация зданий
- Стройтехнолог
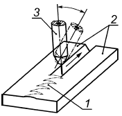
СВАРКА С ПОПЕРЕЧНЫМ КОЛЕБАНИЕМ ГОРЕЛКИ
Сварка, при которой шов выполняют с колебанием горелки поперек направления сварки (см. рисунок 57).

1 - сварной шов; 2 - заготовка; 3 - горелка
Рисунок 57 - Сварка с поперечным колебанием горелки



