Плазменная сварка порошком
Список продуктов
Данный раздел/документ содержится в продуктах:
Данный раздел/документ содержится в продуктах:
- Техэксперт: Промышленная безопасность
- Техэксперт: Нормы, правила, стандарты и законодательство России
- Техэксперт: Нефтегазовый комплекс
- Техэксперт: Машиностроительный комплекс
- Техэксперт: Электроэнергетика
- Техэксперт: Теплоэнергетика
- Стройэксперт. "Вариант Лидер"
- Техэксперт: Эксплуатация зданий
- Стройтехнолог
ПЛАЗМЕННАЯ СВАРКА ПОРОШКОМ
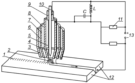
Плазменная сварка с подачей металлического порошка (см. рисунок 47).

1 - сварной шов; 2 - дуга прямого действия; 3 - дополнительное сопло защитного газа (необязательно); 4 - плазмообразующее сопло; 5 - плазмообразующий газ; 6 - дополнительный защитный газ (необязательно); 7 - сопло защитного газа; 8 - присадочный порошок + защитный газ; 9 - контактный наконечник; 10 - вольфрамовый электрод; 11 - устройство зажигания; 12 - заготовка; 13 - источник питания
Рисунок 47 - Плазменная сварка порошком



