Плазменная сварка дугой косвенного действия
Список продуктов
Данный раздел/документ содержится в продуктах:
Данный раздел/документ содержится в продуктах:
- Техэксперт: Промышленная безопасность
- Техэксперт: Нормы, правила, стандарты и законодательство России
- Техэксперт: Нефтегазовый комплекс
- Техэксперт: Машиностроительный комплекс
- Техэксперт: Электроэнергетика
- Техэксперт: Теплоэнергетика
- Стройэксперт. "Вариант Лидер"
- Техэксперт: Эксплуатация зданий
- Стройтехнолог
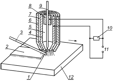
ПЛАЗМЕННАЯ СВАРКА ДУГОЙ КОСВЕННОГО ДЕЙСТВИЯ
Плазменная сварка, при которой электрический источник питания подключен к электроду и соплу, в результате чего образуется плазменная струя (см. рисунок 45).

1 - дуга косвенного действия; 2 - наплавка; 3 - присадочный металл; 4 - плазмообразующее сопло; 5 - плазмообразующий газ; 6 - сопло защитного газа; 7 - защитный газ; 8 - контактный наконечник; 9 - вольфрамовый электрод; 10 - устройство зажигания; 11 - источник питания; 12 - заготовка
Рисунок 45 - Плазменная сварка дугой косвенного действия



