Дуговая сварка с принудительным формированием и газовой защитой
Список продуктов
Данный раздел/документ содержится в продуктах:
Данный раздел/документ содержится в продуктах:
- Техэксперт: Промышленная безопасность
- Техэксперт: Нормы, правила, стандарты и законодательство России
- Техэксперт: Нефтегазовый комплекс
- Техэксперт: Машиностроительный комплекс
- Техэксперт: Электроэнергетика
- Техэксперт: Теплоэнергетика
- Стройэксперт. "Вариант Лидер"
- Техэксперт: Эксплуатация зданий
- Стройтехнолог
ДУГОВАЯ СВАРКА С ПРИНУДИТЕЛЬНЫМ ФОРМИРОВАНИЕМ И ГАЗОВОЙ ЗАЩИТОЙ
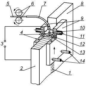
Дуговая сварка в защитном газе плавящимся электродом, при которой жидкий металл сварочной ванны удерживается охлаждаемыми ползунами, перемещающимися вверх по мере выполнения шва (см. рисунок 42).

1 - сварной шов; 2 - заготовка; 3 - источник питания; 4 - водяное охлаждение; 5 - проволочный электрод; 6 - подающие ролики; 7 - направляющий мундштук; 8 - заготовка; 9 - ползуны; 10 - дуга; 11 - защитный газ; 12 - сварочная ванна; 13 - металл шва; 14 - водяное охлаждение
Рисунок 42 - Дуговая сварка с принудительным формированием и газовой защитой



