Контактная приварка шпилек
Список продуктов
Данный раздел/документ содержится в продуктах:
Данный раздел/документ содержится в продуктах:
- Техэксперт: Промышленная безопасность
- Техэксперт: Нормы, правила, стандарты и законодательство России
- Техэксперт: Нефтегазовый комплекс
- Техэксперт: Машиностроительный комплекс
- Техэксперт: Электроэнергетика
- Техэксперт: Теплоэнергетика
- Стройэксперт. "Вариант Лидер"
- Техэксперт: Эксплуатация зданий
- Стройтехнолог
КОНТАКТНАЯ ПРИВАРКА ШПИЛЕК
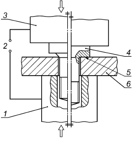
Контактная сварка шпилек или подобных деталей (см. рисунок 30).

1 - электрод для рельефной сварки; 2 - источник питания; 3 - электрод для рельефной сварки; 4 - шпилька (заготовка); 5 - сварной шов; 6 - заготовка
Рисунок 30 - Контактная приварка шпильки



