Индукционная сварка
Список продуктов
Данный раздел/документ содержится в продуктах:
Данный раздел/документ содержится в продуктах:
- Техэксперт: Промышленная безопасность
- Техэксперт: Нормы, правила, стандарты и законодательство России
- Техэксперт: Нефтегазовый комплекс
- Техэксперт: Машиностроительный комплекс
- Техэксперт: Электроэнергетика
- Техэксперт: Теплоэнергетика
- Стройэксперт. "Вариант Лидер"
- Техэксперт: Эксплуатация зданий
- Стройтехнолог
ИНДУКЦИОННАЯ СВАРКА
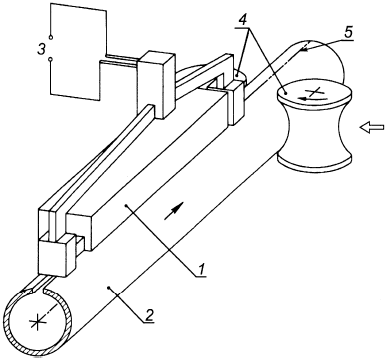
Сварка давлением, при которой нагрев происходит наведенным электрическим током (см. рисунок 29).

1 - индуктор; 2 - заготовка; 3 - источник питания; 4 - обжимной ролик; 5 - сварной шов
а) Сварка с использованием стержневых индукторов
Рисунок 29 - Индукционная сварка (лист 1)

1 - источник питания; 2 - индуктор; 3 - заготовка; 4 - обжимной ролик; 5 - сварной шов



