Шовная контактная стыковая сварка по фольге
Список продуктов
Данный раздел/документ содержится в продуктах:
Данный раздел/документ содержится в продуктах:
- Техэксперт: Промышленная безопасность
- Техэксперт: Нормы, правила, стандарты и законодательство России
- Техэксперт: Нефтегазовый комплекс
- Техэксперт: Машиностроительный комплекс
- Техэксперт: Электроэнергетика
- Техэксперт: Теплоэнергетика
- Стройэксперт. "Вариант Лидер"
- Техэксперт: Эксплуатация зданий
- Стройтехнолог
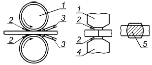
ШОВНАЯ КОНТАКТНАЯ СТЫКОВАЯ СВАРКА ПО ФОЛЬГЕ
Шовная контактная сварка с накладками, при которой детали без скоса кромок стыкуются без зазора, а металлическая лента или проволока подается по центру стыка с одной или с двух сторон соединения (см. рисунок 24).

1 - электрод; 2 - фольга, подаваемая в зону сварки; 3 - охлаждающие распылители; 4 - сечение до сварки; 5 - выполненный сварной шов
Рисунок 24 - Шовная контактная стыковая сварка по фольге



