0 продуктов

Авторизация

Шовная контактная сварка с накладками

Список продуктов
Данный раздел/документ содержится в продуктах:


ШОВНАЯ КОНТАКТНАЯ СВАРКА С НАКЛАДКАМИ

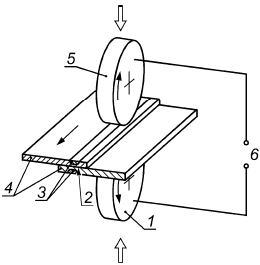
Шовная контактная сварка нахлесточного соединения, при которой используют накладку на одной или обеих сторонах (см. рисунок 23).





1 - сварочный ролик; 2 - сварной шов; 3 - контактная накладка; 4 - лист; 5 - сварочный ролик; 6 - источник питания

Рисунок 23 - Шовная контактная сварка с накладками

"ГОСТ Р ИСО 857-1-2009 Сварка и родственные процессы. Словарь. Часть 1. Процессы сварки металлов. Термины и определения" от 04.08.2009 г.

Категории продуктов

 

 

 

Знакомьтесь, "Техэксперт"

 Техэксперт для iPad

 Для Android

АКЦИЯ!

Бесплатный доступ