0 продуктов

Авторизация

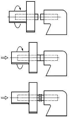
Инерционная сварка трением

Список продуктов
Данный раздел/документ содержится в продуктах:


ИНЕРЦИОННАЯ СВАРКА ТРЕНИЕМ

Сварка трением, при которой энергия вращения запасается в маховике; при трении скорость вращения постоянно снижается (см. рисунок 14).



Рисунок 14 - Инерционная сварка трением

"ГОСТ Р ИСО 857-1-2009 Сварка и родственные процессы. Словарь. Часть 1. Процессы сварки металлов. Термины и определения" от 04.08.2009 г.

Категории продуктов

 

 

 

Знакомьтесь, "Техэксперт"

 Техэксперт для iPad

 Для Android

АКЦИЯ!

Бесплатный доступ