Сварка трением с постоянной скоростью вращения
Список продуктов
Данный раздел/документ содержится в продуктах:
Данный раздел/документ содержится в продуктах:
- Техэксперт: Промышленная безопасность
- Техэксперт: Нормы, правила, стандарты и законодательство России
- Техэксперт: Нефтегазовый комплекс
- Техэксперт: Машиностроительный комплекс
- Техэксперт: Электроэнергетика
- Техэксперт: Теплоэнергетика
- Стройэксперт. "Вариант Лидер"
- Техэксперт: Эксплуатация зданий
- Стройтехнолог
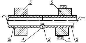
СВАРКА ТРЕНИЕМ С ПОСТОЯННОЙ СКОРОСТЬЮ ВРАЩЕНИЯ
Сварка трением, при которой скорость вращения постоянна (см. рисунок 13).

1 - тормоз; 2 - заготовка; 3 - грат; 4 - сварной шов; 5 - зажим
Рисунок 13 - Сварка трением



