Холодная сварка выдавливанием
Список продуктов
Данный раздел/документ содержится в продуктах:
Данный раздел/документ содержится в продуктах:
- Техэксперт: Промышленная безопасность
- Техэксперт: Нормы, правила, стандарты и законодательство России
- Техэксперт: Нефтегазовый комплекс
- Техэксперт: Машиностроительный комплекс
- Техэксперт: Электроэнергетика
- Техэксперт: Теплоэнергетика
- Стройэксперт. "Вариант Лидер"
- Техэксперт: Эксплуатация зданий
- Стройтехнолог
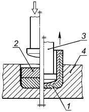
ХОЛОДНАЯ СВАРКА ВЫДАВЛИВАНИЕМ
Холодная сварка давлением с использованием специального штампа (см. рисунок 10).

1 - сварной шов; 2 - заготовка; 3 - пуансон; 4 - матрица
Рисунок 10 - Холодная сварка выдавливанием



