Холодная сварка осадкой
Список продуктов
Данный раздел/документ содержится в продуктах:
Данный раздел/документ содержится в продуктах:
- Техэксперт: Промышленная безопасность
- Техэксперт: Нормы, правила, стандарты и законодательство России
- Техэксперт: Нефтегазовый комплекс
- Техэксперт: Машиностроительный комплекс
- Техэксперт: Электроэнергетика
- Техэксперт: Теплоэнергетика
- Стройэксперт. "Вариант Лидер"
- Техэксперт: Эксплуатация зданий
- Стройтехнолог
ХОЛОДНАЯ СВАРКА ОСАДКОЙ
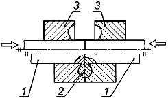
Холодная сварка давлением, при которой с помощью зажимов создается требуемая деформация и течение металла (см. рисунок 9).

1 - заготовка; 2 - сварной шов; 3 - зажимы
Рисунок 9 - Холодная сварка осадкой



