Конденсаторная приварка шпильки с зажиганием дуги плавлением конца шпильки
Список продуктов
Данный раздел/документ содержится в продуктах:
Данный раздел/документ содержится в продуктах:
- Техэксперт: Промышленная безопасность
- Техэксперт: Нормы, правила, стандарты и законодательство России
- Техэксперт: Нефтегазовый комплекс
- Техэксперт: Машиностроительный комплекс
- Техэксперт: Электроэнергетика
- Техэксперт: Теплоэнергетика
- Стройэксперт. "Вариант Лидер"
- Техэксперт: Эксплуатация зданий
- Стройтехнолог
КОНДЕНСАТОРНАЯ ПРИВАРКА ШПИЛЬКИ С ЗАЖИГАНИЕМ ДУГИ ПЛАВЛЕНИЕМ КОНЦА ШПИЛЬКИ
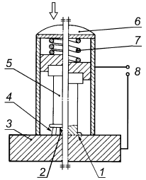
Ударная дуговая приварка шпильки, при которой дуга зажигается при высокой плотности тока плавлением и испарением конца шпильки специальной формы (см. рисунок 8).

1 - сварной шов; 2 - конец шпильки; 3 - заготовка; 4 - дуга; 5 - шпилька (заготовка); 6 - сварочный пистолет; 7 - пружина; 8 - источник питания
Рисунок 8 - Конденсаторная приварка шпильки с зажиганием дуги плавлением конца шпильки



