Дуговая приварка шпилек с защитой керамическим кольцом или газом и с возбуждением дуги размыканием сварочной цепи
Список продуктов
Данный раздел/документ содержится в продуктах:
Данный раздел/документ содержится в продуктах:
- Техэксперт: Промышленная безопасность
- Техэксперт: Нормы, правила, стандарты и законодательство России
- Техэксперт: Нефтегазовый комплекс
- Техэксперт: Машиностроительный комплекс
- Техэксперт: Электроэнергетика
- Техэксперт: Теплоэнергетика
- Стройэксперт. "Вариант Лидер"
- Техэксперт: Эксплуатация зданий
- Стройтехнолог
ДУГОВАЯ ПРИВАРКА ШПИЛЕК С ЗАЩИТОЙ КЕРАМИЧЕСКИМ КОЛЬЦОМ ИЛИ ГАЗОМ И С ВОЗБУЖДЕНИЕМ ДУГИ РАЗМЫКАНИЕМ СВАРОЧНОЙ ЦЕПИ
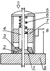
Ударная дуговая приварка шпильки, конец которой первоначально находится в контакте с заготовкой; разряд образуется при отрыве конца шпильки и защищается керамическим кольцом или газом (см. рисунок 6).

1 - сварной шов; 2 - дуга; 3 - керамическое кольцо; 4 - шпилька (заготовка); 5 - сварочный пистолет; 6 - пружина; 7 - подъемный магнит; 8 - источник питания; 9 - заготовка
Рисунок 6 - Дуговая приварка шпилек с защитой керамическим кольцом или газом и с возбуждением дуги размыканием сварочной цепи



