Сварка соединения типа шляпки гвоздя
Список продуктов
Данный раздел/документ содержится в продуктах:
Данный раздел/документ содержится в продуктах:
- Техэксперт: Промышленная безопасность
- Техэксперт: Нормы, правила, стандарты и законодательство России
- Техэксперт: Нефтегазовый комплекс
- Техэксперт: Машиностроительный комплекс
- Техэксперт: Электроэнергетика
- Техэксперт: Теплоэнергетика
- Стройэксперт. "Вариант Лидер"
- Техэксперт: Эксплуатация зданий
- Стройтехнолог
СВАРКА СОЕДИНЕНИЯ ТИПА ШЛЯПКИ ГВОЗДЯ
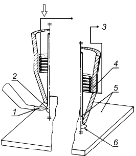
Вариант сварки нагретым мундштуком, при котором на конце одной или двух проволок, подаваемых через мундштук и разогреваемых пламенем или электрическим разрядом, формируется маленькая капля, которая под действием приложенной силы расплющивается в форме шляпки гвоздя (см. рисунок 3).
Примечание - Процессы могут выполняться с помощью энергии движения массы (ультразвуковая сварка) или в комбинации нагретого элемента и движения массы.

1 - пламя; 2 - капля расплавленного металла; 3 - источник питания; 4 - мундштук; 5 - деталь; 6 - сварной шов
Рисунок 3 - Сварка соединения типа шляпки гвоздя



