Сварка нагретым мундштуком
Список продуктов
Данный раздел/документ содержится в продуктах:
Данный раздел/документ содержится в продуктах:
- Техэксперт: Промышленная безопасность
- Техэксперт: Нормы, правила, стандарты и законодательство России
- Техэксперт: Нефтегазовый комплекс
- Техэксперт: Машиностроительный комплекс
- Техэксперт: Электроэнергетика
- Техэксперт: Теплоэнергетика
- Стройэксперт. "Вариант Лидер"
- Техэксперт: Эксплуатация зданий
- Стройтехнолог
СВАРКА НАГРЕТЫМ МУНДШТУКОМ
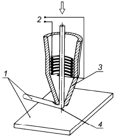
Сварка нагретым элементом в виде нагретого мундштука (см. рисунок 2).

1 - свариваемая деталь; 2 - источник питания; 3 - мундштук; 4 - сварной шов
Рисунок 2 - Сварка нагретым мундштуком



