Нагревательный элемент
Данный раздел/документ содержится в продуктах:
- Техэксперт: Охрана труда
- Техэксперт: Промышленная безопасность
- Техэксперт: Пожарная безопасность
- Техэксперт: Нормы, правила, стандарты и законодательство России
- Техэксперт: Нефтегазовый комплекс
- Техэксперт: Машиностроительный комплекс
- Техэксперт: Электроэнергетика
- Техэксперт: Теплоэнергетика
- Стройэксперт. "Вариант Лидер"
- Техэксперт: Эксплуатация зданий
- Стройтехнолог
НАГРЕВАТЕЛЬНЫЙ ЭЛЕМЕНТ
Изделие из проводникового материала для преобразования электрической энергии в тепловую для дальнейшего использования
"ГОСТ 16382-87 Оборудование электротермическое. Термины и определения" от 28.09.1987 г.
НАГРЕВАТЕЛЬНЫЙ ЭЛЕМЕНТ
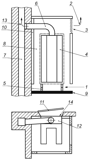
Встроенная печь конвекционного типа, предназначенная для обогрева двух или более помещений (рисунок 1).
1 - приточный воздух; 2 - исходящий нагретый конвекционный воздух; 3 - расход воздуха; 4 - нагревательный элемент; 5 - опорный подшипник для нагревательного элемента; 6 - вытяжная труба; 7 - дымоход; 8 - топка (камера сгорания); 9 - пол; 10 - изоляция; 11 - передняя дверца; 12 - дефлектор; 13 - отвод продуктов сгорания; 14 - передняя панель устройства
Рисунок 1 - Схема установки



