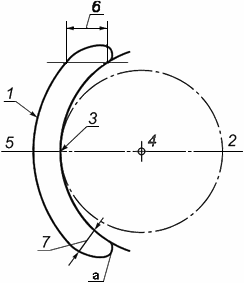
Осевая толщина края (контактной линзы)
Список продуктов
Данный раздел/документ содержится в продуктах:
Данный раздел/документ содержится в продуктах:
- Техэксперт: Нормы, правила, стандарты и законодательство России
- Техэксперт: Нефтегазовый комплекс
- Техэксперт: Машиностроительный комплекс
ОСЕВАЯ ТОЛЩИНА КРАЯ (КОНТАКТНОЙ ЛИНЗЫ)
еn. axial edge thickness
Осевая толщина на заданном расстоянии от края (см. рисунок).

_______________
Радиальную толщину края обычно измеряют на расстоянии от 0,2 до 0,8 мм от края контактной линзы.



