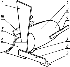
Стойка корпуса (плуга)
Список продуктов
Данный раздел/документ содержится в продуктах:
Данный раздел/документ содержится в продуктах:
- Техэксперт: Нормы, правила, стандарты и законодательство России
- Техэксперт: Нефтегазовый комплекс
- Техэксперт: Машиностроительный комплекс
СТОЙКА КОРПУСА (ПЛУГА)
En leg
fr
Часть корпуса плуга, соединяющая корпус с рамой плуга
Примечание. В некоторых конструкциях плугов функции стойки выполняет крючковый грядиль рамы

1 - стойка; 2 - башмак корпуса; 3 - лемех; 4 - отвал; 5 - грудь отвала; 6 - крыло отвала; 7 - перо отвала; 8 - полевая доска; 9 - пятка полевой доски; 10 - углосним



