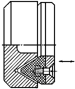
Клиновая осевая муфта с переключением
Список продуктов
Данный раздел/документ содержится в продуктах:
Данный раздел/документ содержится в продуктах:
- Техэксперт: Нормы, правила, стандарты и законодательство России
- Техэксперт: Нефтегазовый комплекс
- Техэксперт: Машиностроительный комплекс
КЛИНОВАЯ ОСЕВАЯ МУФТА С ПЕРЕКЛЮЧЕНИЕМ
Асинхронная муфта с механической связью, у которой управление соединения и разъединения валов осуществляется путем ввода или вывода в зацепление двух пар конусных фрикционных поверхностей, одна из которых представляет собой торцевой клин и установлена на одной из полумуфт, подвижной в осевом направлении



