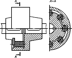
Роликовая упругая муфта
Список продуктов
Данный раздел/документ содержится в продуктах:
Данный раздел/документ содержится в продуктах:
- Техэксперт: Нормы, правила, стандарты и законодательство России
- Техэксперт: Нефтегазовый комплекс
- Техэксперт: Машиностроительный комплекс
РОЛИКОВАЯ УПРУГАЯ МУФТА
Нелинейная упругая муфта, которая обладает упругими и компенсирующими свойствами за счет упругой деформации сжатия резиновых цилиндрических роликов, установленных между выступами концентрично расположенных полумуфт



